勞工請假規則修正:家庭照顧假與病假系統設定與請假流程
勞工請假規則修正:家庭照顧假與病假系統設定與請假流程
本指南說明企業如何在 HR 系統中因應最新「勞工請假規則」修正,完成家庭照顧假與病假相關設定, 包含系統前置設定、假別資料設定、假別子項目設定、特殊假別天數方案設定,以及員工 Web 請假單實際操作流程。
勞工請假規則修正重點整理
依據最新法規修正,企業在請假制度與系統設定上需注意以下重點:
- 勞工因照顧家庭成員請事假,可改以「小時」為請假單位。(修正條文第七條)
- 勞工因家庭照顧而請事假,雇主不得視為缺勤,也不得影響全勤獎金。(修正條文第九條)
- 勞工一年內請普通傷病假未超過10日者,雇主不得因請假而給予不利處分。(修正條文第九條之一)
家庭照顧假制度說明
自新制上路後,勞工如有家庭照顧需求,可依照以下方式請假:
- 家庭照顧假:每年 56 小時
- 家庭照顧(事假):每年 56 小時
- 合計最多:112 小時
請假順序為:
- 先使用 56 小時「家庭照顧假(性別工作平等法)」
- 再使用 56 小時「家庭照顧(事假)」
家庭照顧假系統前置設定
在啟用家庭照顧假制度前,HR 需先完成以下系統設定。
步驟一:調整家庭照顧假假別資料
功能路徑:系統選單 → 考勤模組 → 基本資料 → 假別資料設定
設定內容:
- 假別名稱:家庭照顧假(性別工作平等法)
- 請假時數限制:依假別最大單位
- 最大單位:56小時
- 限制單位類型:小時

步驟二:新增家庭照顧(事假)假別
功能路徑:系統選單 → 考勤模組 → 基本資料 → 假別資料設定 / 假別子項目設定
設定內容:
- 新增假別:家庭照顧(事假)
- 請假扣全勤獎金:不勾選
- 設定假別使用優先順序

步驟三:設定假別檢核規則
功能路徑:系統選單 → 考勤模組 → 基本資料 → 假別子項目設定
- 啟用假別可用天數檢查
- 先使用家庭照顧假 56 小時
- 再使用家庭照顧(事假)56 小時

步驟四:設定特殊假別天數方案
功能路徑:系統選單 → 考勤模組 → 基本資料 → 特殊(假別天數)方案設定
設定內容:
- 在方案中新增「家庭照顧(事假)」
- 設定 56 小時

Web請假單:家庭照顧假申請流程
系統檢查機制一:尚有家庭照顧假
若員工尚未使用完「家庭照顧假 56 小時」,系統會提示需先使用該假別。

系統檢查機制二:家庭照顧假已使用完
若家庭照顧假 56 小時已使用完,系統才允許使用「家庭照顧(事假)」。

系統檢查機制三:事假年度上限
家庭照顧假與家庭照顧(事假)會併入年度事假上限 14 天計算。

病假制度修正與系統設定
依最新規定,勞工一年內請普通傷病假未超過 10 日時,雇主不得因此給予不利處分。
系統建議設定方式如下:
| 系統功能 | 異動範圍 |
| 假別資料設定、假別子項目設定 | [新增] 增加「病假(未超過10日)」假別 ◆ 不可影響全勤獎金 ◆ 設定假別使用優先順序 |
| 特殊(假別天數)方案設定 | [修改] 將「病假(未超過10日)」納入年累30天累計 |
病假系統前置設定
新增病假(未超過十日)
功能路徑:系統選單 → 考勤模組 → 基本資料 → 假別資料設定 / 假別子項目設定
- 新增假別:病假(未超過十日)
- 請假扣全勤獎金:不勾選
設定假別檢核規則
﹝勾選﹞啟用假別可用天數檢查
① 先使用「病假未超過十日」
② 再使用「病假」【雇主不得因勞工請普通傷病假而為不利之處分】
* 每年最多 共計 240小時 可請假
病假﹝未超過十日﹞
功能路徑: 系統選單\考勤模組\基本資料\【假別子項目設定】
【剩餘額度查詢】及【假單剩餘額度查詢】:﹝調整﹞不納入
設定特殊假別天數方案
功能路徑: 系統選單\考勤模組\基本資料\【特殊(假別天數)方案設定】
增加 病假﹝未超過十日﹞
Web請假單:病假申請流程
檢查一:先使用病假未超過十日
若系統尚有「病假未超過十日」額度,員工需先申請此假別。
檢查二:病假未超過十日已用完
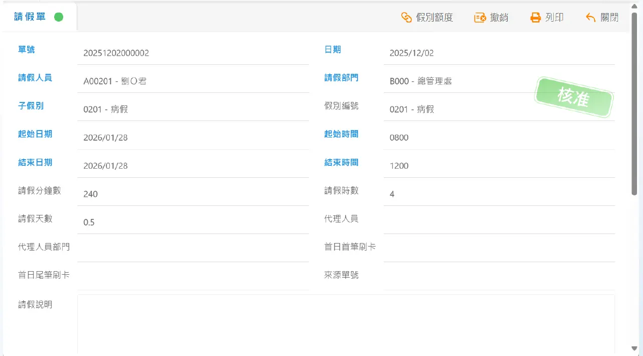
已請 0203-病假﹝未超過十日﹞ ; 2026/01/02-2026/01/15日、已請80小時 。

可再請 0201-病假 額度160小時 ; 2026/01/28-2026/01/28日 4小時 。
檢查三:病假年度天數檢查
病假未超過十日 ﹝不扣全勤﹞請假日數【併入病假年累30天】計算檢查
注意事項
- 若公司沒有全勤獎金制度,可忽略相關設定。
- 家庭照顧假與家庭照顧事假需設定使用順序。
- 病假未超過十日需優先使用。
- 所有假別需設定假別天數方案,避免年度計算錯誤。
- Web請假單需搭配假別檢核設定,才能自動檢查剩餘額度。
常見問題 FAQ
- 家庭照顧假可以用小時請假嗎?
- 可以。依新修正規定,家庭照顧需求可用「小時」為請假單位。
- 家庭照顧假會扣全勤獎金嗎?
- 不會。雇主不得因勞工請家庭照顧假而扣發全勤獎金。
- 病假未超過十日有什麼保障?
- 勞工一年內請普通傷病假未超過 10 日時,雇主不得給予不利處分。
- 家庭照顧假最多可以請多少?
- 家庭照顧假 56 小時 + 家庭照顧(事假)56 小時,每年最多 112 小時。
